您现在的位置:首页 >> 全部产品 >> WRF系列燃煤热风炉 >> WRF型系列燃煤热风炉
  • 商品名称:WRF型系列燃煤热风炉
  • 商品编号:03
  • 上架时间:2012-02-01
  • 浏览次数:10296

一、特点
1、热效率高,整体效率≥75%。
2、机械化程度高,运行稳定,操作方便。
3、对煤种的适应能力强,可使用发热值4500千卡/千克以上的多种煤。
4、对烘干机适应能力强,可与横流、混流、顺逆流烘干机等各种烘干设备、取暖设施配套使用。
5、投资小,运行费用低。
6、使用寿命长,主机使用寿命≥10年,换热器≥5年。

二、主要参数及配套表

型号适用
煤种
适用
煤种
换热器
入口烟温
热风器
出口风温
排烟
温度
鼓风机引风机除渣机
(直段长度)
上煤机
WZL-5
(120)
Ⅱ;Ⅲ

烟煤
5×103MJ/h
(120×104Kcal/h)
≤800℃≤120℃≤200℃4-72;No3.6A
P=3KW
Y5-47;5.0C
P=7.5KW
不配置
除渣机
不配置
上煤机
WZL-7.5
(180)
7.5×103MJ/h
(180×104Kcal/h)
4-72;No4.0A
P=3KW
Y5-47;5.0C
P=15KW
3000mm自制通用
QRS倾斜
式上煤机
WZL-10
(240)
10×103MJ/h
(240×104Kcal/h)
4-72;No4.0A
P=5.5KW
Y5-47;6C
P=22KW
3000mm
WZL-12.5
(300)
12.5×103MJ/h
(300×104Kcal/h)
4-72;No4.5A
P=7.5KW
Y5-47;8.0C
P=22KW
3000mm
WZL-15
(360)
15×103MJ/h
(360×104Kcal/h)
4-72;No4.5A
P=7.5KW
Y5-47;9.0C
P=30KW
3000mm
WZL-17.5
(420)
17.5×103MJ/h
(120×104Kcal/h)
4-72;No5A
P=15KW
Y5-47;9.0C
P=37KW
3000mm
WZL-20
(480)
20×103MJ/h
(480×104Kcal/h)
4-72;No5.0A
P=15KW
Y5-47;10C
P=37KW
3000mm
WZL-25
(600)
25×103MJ/h
(600×104Kcal/h)
4-72;No6.0A
P=15KW
Y5-47;10C
P=45KW
3400mm

注:1、出渣机的形式为“单链刮板出渣机”。2、出渣机的型号:外购为DGZ;自制为LSC型。

 

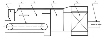
三、结构图

  1. 煤斗
  2. 链条炉
  3. 燃烧室
  4. 沉降室
  5. 换热室
  6. 热风出口
?

地址:辽宁省铁岭市银州区汇工街98号  电话:024-74565289 74501618  传真:024-74564979  mail:tljdjx@163.com

辽ICP备12000599号-1

版权所有:星空平台入口-星空(中国)